Мы используем cookie для наилучшего представления нашего сайта. Подробнее об этом в Политике конфиденциальности.
Ок

Домодедово

Ваш город:
Домодедово (Московская область)?
Нет
Да
Каталог
Каталог Написать в WhatsApp
Мотоэкипировка

Система охлаждения КВАДРОЦИКЛА STELS ATV 450 H

Система охлаждения КВАДРОЦИКЛА STELS ATV 450 H в Москве: актуальный каталог, цены, фото, описание. Купите система охлаждения квадроцикла stels atv 450 h в кредит – оформите заявку онлайн за 1 минуту!

Оригинальные запчасти

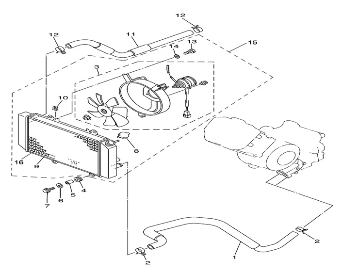
Артикул НАИМЕНОВАНИЕ Кол-во деталей в узле Примечание Наличие Цена Аналоги Фото
1 LU021849 Шланг системы охлаждения впускной I, резина 130302-102-0000

Под заказ

1
借用HS350ATV
借用HS350ATV

Под заказ

уточнить

2 260

Купить
2 LU021851 Электровентилятор радиатора, в сборе 19230-058-0000

Под заказ

1

Под заказ

уточнить

12 260

Купить
3 LU013751 Болт с фланцем M6x1.0x 16мм , сталь 9102-06-016

В наличии

2

В наличии

130

40

Купить
4 LU025355 Крышка радиатора жидкостного охлаждения 19201-055-0000,19201-058-0000

Под заказ

1

Под заказ

уточнить

610

Купить
5 LU021855 Радиатор жидкостного охлаждения 130100-102-0000

Под заказ

1
для Гепард Трофи Про
для Гепард Трофи Про

Под заказ

уточнить

17 100

Купить
6 LU013743 Клипса М6х1.0мм , сталь F020195-43,52910BMBT000,90312-000-0000,9401-060003

Под заказ

3
M6×1.0
M6×1.0

Под заказ

уточнить

140

Купить
7 LU021856 Шланг системы охлаждения выпускной II, резина 130304-102-0000

Под заказ

1
первоначальная верси...
первоначальная версия

Под заказ

уточнить

1 790

Купить
8 LU021859 Болт с фланцем с крест.шлицем M6х1.0х25мм , сталь

Под заказ

3

Под заказ

уточнить

Купить
9 LU021858 Радиатор жидкостного охлаждения, в сборе 19200-058-0000

Под заказ

1

Под заказ

уточнить

Купить
10 LU021857 Сетка защитная радиатора, пластик 19205-058-0000

Под заказ

1

Под заказ

уточнить

150

Купить
11 LN001622 Штуцер системы охлаждения 11351-F13-0002

Под заказ

1

Под заказ

уточнить

260

Купить

Нулевая цена не означает отсутствие товара. Оформите заказ, и менеджер сообщит вам цену и наличие товара, предварительно запросив их у поставщика

Главная Магазины
Корзина0
Профиль